技術域:
一種鎳鐵冶煉回轉窯直接還原方法,尤其適用于鎳鐵在回轉窯中還原冶煉使用。
背景技術:
現有成熟的鎳鐵冶煉工藝為回轉窯-礦熱爐工藝其中:先將鎳鐵礦通過板式給料機輸送到齒輥破碎機中破碎,破碎后的鎳鐵礦進入烘干機中降低含水量,將烘干后的鎳鐵和還原煤、石灰石按照100:8:2投入混料機中混合,混合料送入回轉窯焙燒,溫度控制在800℃;剞D窯燃燒器設置在窯頭,混合料從窯尾進入,先被干燥,然后到達回轉窯中部,開始脫去干礦結晶水,直到卸料前,干礦被煤和一氧化碳部分還原,較得到焙燒物中的鎳以金屬Ni和Ni2+兩種形式存在,干礦中的大部分鐵也被還原為Fe2+;回轉窯中得到的焙燒物通過傳輸裝置送到礦熱爐,焙燒物在礦熱爐中,1500℃條件下,產出粗鐵渣和爐渣,爐渣冷卻后,堆存或再回收利用。礦熱爐冶煉為了更好的流通性,需要用焦炭作為能源,其產能小,能耗高。
發明內容:
本發明的目的是克服已有技術中的不足之處,提出一種工藝簡單,能耗少,不使用礦熱爐,降低電能需要鎳鐵冶煉回轉窯直接還原方法。
為實現上述技術目的,本發明的鎳鐵冶煉回轉窯直接還原方法包括步驟如下:
a.將回轉窯窯頭的余熱經導管與烘干機相連接,使回轉窯窯頭中產生的余熱導入烘干機;將回轉窯的窯尾尾氣經導管與壓球機相連接,使回轉窯中的尾氣導入壓球機中;
b.將鎳鐵礦通過給料機輸送到齒輥破碎機中破碎,將破碎后的鎳鐵礦送入溫度為600℃的烘干機中烘干,降低含水量至15%-18%;
c.將烘干后的鎳鐵礦與還原煤、石灰石按照100:10:2的質量比投入混料機中混合均勻,之后將混合物送入壓球機擠壓成團塊,要求團塊的含水分量低于18%,團塊的強度大于2000N;通過回轉窯中的尾氣使壓球機內溫度達到800℃;
d.將擠壓后的團塊送入回轉窯內燒制,保持團塊在回轉窯內以6米/小時勻速行進,同時向回轉窯中噴灑煤粉和空氣,在團塊行進期間,煤粉燃燒產生的熱氣與團塊逆流行走,保證回轉窯內溫度均勻穩定,從而減少細顆粒煙塵,團塊在移動至回轉窯出口約30米的時候,團塊溫度上升至1350℃-1500℃,團塊崩裂開始生成熔渣反應,同時團塊通過煤發生還原反應生成含鎳鐵金屬的渣塊。
e.含金屬的渣塊較從回轉窯的出口排出,將排出的渣塊直接引入水坑中進行水淬。
f.將水淬后的渣塊打撈起來投入球磨機中破碎為小于2mm的顆粒,再利用磁選機進行鎳鐵金屬和熔渣的分離,較得到鎳鐵金屬。
有益技術效果:本方法只是用環;剞D窯焙燒而不適用礦熱爐焙燒,能耗少,熔煉的主要能源為煤,而不是昂貴的電能,降低了生產成本,且設備工藝簡單,設備維修方便,減少了生產建設的投資,方便嚴重缺乏電力的地區使用。

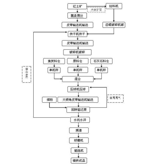
上圖1為本發明的方法流程圖。
施工步驟如下:
鎳鐵冶煉回轉窯直接還原方法包括步驟如下:
a.將回轉窯窯頭的余熱經導管與烘干機相連接,使回轉窯窯頭中產生的余熱導入烘干機,將回轉窯的窯尾尾氣經導管與壓球機相連接,使回轉窯中的尾氣導入壓球機中。
b.將鎳鐵礦即紅土礦通過篦條篩分,將細顆粒礦石和大塊礦石分離,大塊礦石則通過給料機輸送到齒輥破碎機中破碎,將破碎后的鎳鐵礦以及細顆粒礦石送入溫度為600℃的烘干機中烘干,降低含水量至15%-18%。
c.將烘干后的鎳鐵礦通過破碎機破碎后存入原料倉,原料倉內的鎳鐵礦通過單機秤與還原煤、石灰石按照100:10:2的質量比投入混料機中混合均勻,之后將混合物送入壓球機擠壓成團塊,要求團塊的含水分量低于18%,團塊的強度大于2000N;通過回轉窯中的尾氣使壓球機內溫度達到800℃。
d.使用大傾角皮帶輸送機將團塊以6米/小時的速度送入回轉窯,并保持團塊在在回轉窯里以6米/小時勻速行進,同時向回轉窯中噴灑煤粉和空氣,在團塊行進期間,煤粉燃燒產生的熱氣與團塊逆流行走,所有冶煉過程的各個階段為:脫水、還原、團塊崩裂、熔渣生產、還原后金屬顆粒聚集。碳進入到團塊中作為燃料和還原劑參與反應,通過團塊均勻地加入到回轉窯中,完成了一個穩定的運轉狀態,同時獲得穩定的溫度場,保證回轉窯內溫度均勻穩定,從而減少細顆粒煙塵,如團塊的品質較低,那么入窯供料速率會發生變化,或者內部所含的碳質材料擴散,將會導致物料與回轉窯內壁接觸部位局部過熱或過冷,從而增加細顆粒煙塵,并使窯內抽力情況惡化,團塊在移動至回轉窯出口約30米的時候,團塊溫度上升至1350℃-1500℃,在這個階段,熔渣生成反應開始,同時還原反應發生,鎳氧化物呈橄欖石結構(Ni ,Mg)2SiO4,而鐵氧化物也生成同樣的結構形式Fe2SiO4,它們在高溫下與游離的二氧化硅產生反應生成固溶體;生成含鎳鐵金屬的渣塊。
e.經回轉窯冶煉后生成含金屬的渣塊較排出,為了抑制氧化以及便于破碎,排出的渣塊直接投入水坑中進行水淬。
f.水淬后的渣塊被打撈起來投入球磨機破碎成小于2mm的顆粒,并利用磁選機進行鎳鐵金屬和熔渣的分離,從而得到鎳鐵成品。
業的回轉窯制造商,強大的技術團隊,諸多成功案例,讓投資者少操心,更放心!

